Étiquettes
Pour ce défi Burda de septembre, je vous présente une petite couture estivale, histoire de prolonger encore un peu l’été…


Figurez-vous que je n’ai quasiment pas cousu cet été du fait de mes vacances mais aussi des travaux de peinture qui sont venus se caler juste à notre retour de congés. Du coup, après 38 jours sans coudre (oui, oui, j’ai compté… je crois bien que c’est la première fois que ça m’arrive en 13 ans de couture !), il me fallait donc reprendre en douceur avec un patron simple à coudre pour une séance couture 100% plaisir !

J’ai donc opté pour le patron pochette Burda young n°6791 que j’ai acheté une misère au format PDF sur le site russe de Burda. La plupart des patrons étaient au prix imbattable de 99 roubles (au lieu de 200), soit 1,12 € le patron PDF. En plus de cela, il y avait une promo de 70% sur toute la commande… Bref je vous laisse calculer… C’est incroyable mais vrai !
A la réception des fichiers PDF, bonne surprise puisque le patron était proposé dans plusieurs langues dont le français ! Ce fut hélas le seul parmi tous les autres patrons que j’ai achetés, qui eux sont tous en langue russe… Quant à la planche patron, tout est nickel en terme d’impression. Par contre, il n’y a pas système de calques (pour n’imprimer que sa taille par exemple).

Version A et B : robe courte ou longue de taille empire / épaules dénudées.
Version C : débardeur avec pinces et couture au milieu dos.
Je précise que ces deux versions sont prévus pour être coupées dans du chaine & trame.
Voici le schéma technique :

Le patron est proposé de la taille 32 à 44. D’après le tableau des tailles, j’aurais dû prendre la taille 36 qui correspond à mon tour de poitrine mais j’ai décidé de faire une taille en dessous et je ne le regrette pas car il y a suffisamment d’aisance que ce soit au niveau de la poitrine, de la taille et des hanches.

J’ai raccourci la robe (version A) de 15 cm (+ 3 cm de valeurs d’ourlet), histoire d’avoir une tunique plutôt qu’une robe. Vous connaissez maintenant à connaître mon amour pour les tuniques portées sur des pantalon…

Burda conseille d’utiliser un tissu de type viscose, crêpe ou cotonnade légère. Pour la version A, Burda indique un métrage de 2m sur une laize de 140 mais j’ai utilisé beaucoup moins de tissu puisque j’ai rétréci la longueur de la robe. J’ai choisi ce crêpe de viscose qui vient de chez Bennytex (6,90€/m). Je précise que j’ai eu la chance de gagner 50€ à dépenser chez Bennytex à l’occasion d’un concours Instagram ! Je n’en revenais pas, quelle joie !!! J’avais hésité à prendre ce tissu noir « imprimé goodies » mais au final, je ne regrette pas du tout mon achat. Il y a ce petit brin de fantaisie avec cet imprimé mais ça reste discret, j’aime bien ! J’en ai commandé deux mètres : j’ai reçu 2m40, autant vous dire que la coupe était généreuse !

Le niveau indiqué est « super easy », ce que je confirme puisqu’il n’y a que peu de pièces à coudre et que l’assemblage & les finitions proposées sont simples et faciles à exécuter (tout du moins pour les versions A et B).

Ci-dessous le plan de coupe pour la version A (robe courte) avec les 4 pièces à couper puis à coudre :

Les valeurs de couture ne sont pas incluses, ce qui est tout à fait habituel chez Burda (perso, j’ai ajouté 1 cm pour les coutures d’assemblage). A noter toutefois qu’il ne faut pas ajouter de valeurs de couture sur la pièce 4 (parement/coulisse). Idem au niveau des bords supérieurs (encolure) des pièces devant, dos et manches. Idem pour le bord inférieur des manches (ourlet).
La robe est resserrée sous poitrine par un élastique, ce qui donne cette coupe taille empire, style que j’aime beaucoup.

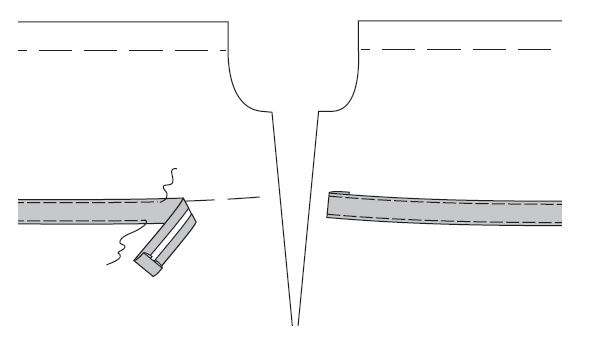
Côté technique, le principe est simple puisqu’on vient insérer un élastique de 1,5 cm dans une coulisse (parement pièce n°4) que l’on préforme au fer comme si c’était un biais.

Je vous conseille d’utiliser la roulette et le papier carbone pour marquer les repères (deux lignes de piqûre) sur l’envers des pièces devant & dos. Burda conseille de ne coudre la couture latérale (du devant et dos) que d’un seul côté pour pouvoir poser la coulisse à plat. Perso, j’ai préféré coudre les deux côtés d’un coup et ça se fait très bien aussi. Je trouve ça d’ailleurs plus simple ensuite pour relier les deux extrémités du biais.

Voici ce que ça donne sur l’endroit, une fois l’élastique inséré :

Sur l’envers :


Les manches sont courtes et là aussi élastiquées. Je les trouve mignonnes et surtout confortables.


Sur l’envers :

Pour les manches, je vous conseille de pré-former au fer l’ourlet avant d’effectuer la couture des manches. Je trouve ça en effet plus facile de former l’ourlet avant, donc à plat, plutôt qu’après, une fois la manche fermée. J’avais retenu cette astuce dans la couture du T-shirt à encolure bateau de Nos Jolies Escapades. Ici, j’ai fait un premier rentré de 1 cm puis un second de 2 cm.


Une fois l’ourlet pressé au fer, il faut bien évidemment le déplier au moment d’effectuer la couture des manches :

Voici la manche cousue et l’ourlet préformé au fer qu’on viendra ensuite surpiquer.

Une fois le devant, le dos et les manches assemblés, on vient finir l’encolure par un ourlet : un premier rentré de 1 cm puis un second de 2 cm qu’on vient piquer nervure tout du long mais en laissant tout de même une petite ouverture pour le passage de l’élastique.


Ci-dessous, on voit l’ouverture laissée pour le passage de l’élastique au niveau de la manche :

Burda indique la longueur de l’élastique à couper selon la taille qu’on a choisie. Pour info, j’ai dû retirer 10 cm (élastique encolure, pour le reste c’est ok) mais c’est peut-être dû à mon élastique qui est très souple. A tester donc… D’ailleurs, c’est ce que Burda préconise dans ses instructions de montage : « Essayer la robe après avoir introduit les élastiques dans les coulisses. Fixer leurs extrémités l’une sur l’autre avec des épingles de sûreté pour définir avec précision la longueur nécessaire. »

Pour l’ourlet du bas de la robe, j’ai fait pareil (à savoir un rentré de 1 cm puis un autre de 2 cm) alors que Burda prévoit un ourlet remplié de 1,5 cm.

Voici quelques vues sur l’envers :

Les épaules dénudées, moi j’adore ! Je trouve ça ravissant et féminin même si évidemment, je ne me vois pas porter ça pour aller travailler… Ce sera un top à porter le week-end ou en vacances !

Pour différencier le dos du devant, j’ai fixé ma petite étiquette (chose que je n’aime pas trop faire sur les corsages puisque la piqûre se voit sur l’extérieur…) :

Bref, voilà pour cette tunique estivale que je valide complètement ! Filons maintenant voir ce que les copines du défi Burda initié par Zélie Décousue on réalisé ce mois-ci…


Je suis fan ! Elle est au top cette blouse et le tissu est super (les petits dessins j’adore !). Bravo pour cette reprise … 😄
38 jours sans couture !!! 🤣 Ta cousette te va à ravir et fera l’affaire si nous avons un été indien 😘. Belle journée Sandrine
Super easy, mais quand même de la précision pour poser cet élastique ! Tu es superbe dans ce top, bravo !
Encore une superbe réalisation. Décidément notre été c’est ressemblé, j’ai aussi du mettre en standby mes projets coutures pour cause de vacances suivie de chantier peinture.
Encore une fois bravo pour cette tunique qui te va hyper bien!
Ah tiens ! Alors ça c’est drôle ! J’espère que tu as depuis retrouvé tes machines et ton espace dédié à la couture…
c ‘est ravissant
Très chou ce top. Vous pouvez montrer vos épaules, elles sont ravissantes. La pause de 38 jours est loin de vous avoir endormie 😉
impec!!
Tres belle réalisation. 38 jours ! J etais impatiente de retrouver votre podcast mais ca sera pour plus tard du coup 😁.
Bonne nouvelle, mon dernier podcast est en ligne !
bonjour je viens de vous decouvrir sur « youtube » j’aime beaucoup!
enfin qqu’un qui sait coudre dans « les règles de l’Art »!!
ça change du »je ne sais pas coudre mais je vais vous apprendre » ! lol
comment faites vous pour vous y retrouver sur ce site Russe?? merci
ne changez rien, c’est un plaisir de vous regarder!!
Aude Laure
Merci beaucoup Aude Laure, ça me fait drôlement plaisir !!! Justement je montre dans mon podcast 45 comme je fais pour traduire en français le site russe de Burda : https://youtu.be/AdZ0goljDWI
Merci beaucoup! j’y vais!
comment vous envoyer un message privé??
Aude Laure
Vous pouvez me contacter via le formulaire « contact » : https://sbcreationscouture.com/about/
Très jolie ! je trouve le tissu canon 🙂
Moi aussi j’adore le tissu et merci pour le site russe !
Merci à toutes pour vos adorables commentaires ! Bientôt je vous présenterai ce que j’ai cousu avec les chutes de ce tissu !
Pingback: Le petit haut à encolure en V | SB créations
Pingback: Ma blouse estivale n°112 [Burda 04/2022] | SB créations
Pingback: Ma blouse Frida [Atelier Bernie] | SB créations